
自古以来,不论是绘画或是雕刻作品,创作者总会特别用心将人物的眼睛刻画得炯炯有神,可见眼睛有多么的重要。而日本玩具厂商万代(BANDAI)最近似乎就悄悄在模型眼睛的制作上做出了重大突破!日本网友们发现,万代申请了一种具备多色成形,又可以追踪视线的眼睛零件制造方式的专利。这种追踪视线的眼睛虽然在球体关节人形已经运用多年,不过要是将来可以运用在射出成形的量产塑胶模型上,那真的会掀起重大革命啊!以下就跟着小编一起来看看这项专利吧~~
日本最近公布的一项专利登记,编号2022176306

上面这项专利登记是由本玩具厂商万代(BANDAI)提出,最近被日本网友发现以后,引发了热烈反响!
关于专利的内容是这么写的……
「此项发明是为了让人偶的眼睛零件能够实现自然且广角的视线追踪,或是类似机能的制造方式。」

简单来说,万代设计出了一种可以让人物模型的视线彷彿一直盯着人看的技术。文中还有概略解释究竟该如何实现这个目标,并且附上几张说明图片……
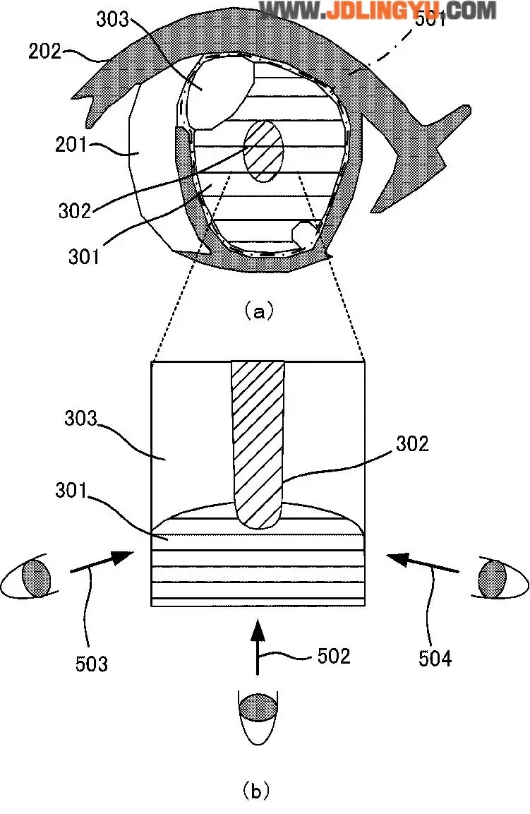
专利构造的眼睛瞳孔剖面图

专利构造的脸部零件图

专利构造的眼睛零件分解图

专利构造的脸部剖面图

专利构造的瞳孔构造层次图

其实这种追踪视线的眼睛在球体关节人形的世界已经被广泛运用,问题在于球体关节人形的制造成本不是量产塑胶模型可以比的。如果将来连相对便宜的塑胶模型都可以配备追踪视线的眼睛,那就真的太棒了啊~~
球体关节人形的世界下了许多心血研究追踪视线的眼睛

虽说万代目前只是申请专利登记,连个实际的试作品都还没有公布,不过日本网友们已经兴奋到不行了!
「视线追踪!?!?!?」

「万代又想干什么了!」

「万代申请变态技术的专利了。」

「太厉害了,竟然实现可以视线追踪的多色成形了……」

「以前看过类似的技术又进化了啊,果然是变态企业(称赞)」

「原本想说这有什么用?不过仔细想想,将来带着模型出门拍照会变得很方便,因为不需要带着一大堆眼睛零件了,这样超棒啊。」

(^∀^)好期待这种技术可以被广泛运用呢~~
1.本站内容收集于网络!若内容若侵犯到您的权益,请发送邮件至:jdlingyu1@gmail.com,我们将第一时间处理!

